佛山市益百机械

材料切割与熔合设备专家

0757-85611216

完美在线登录 - 新闻资讯 - 公司新闻

塑焊机超声波电箱

塑焊机超声波电箱2021-04-19

1. 重型多关节支架:采用精美的外观、扎实构造的载重型支架,超声波电箱多方位灵活调整,适合不同体形的操作员方便生产,符合人体工学。 2. 触摸屏:生产所需用各种参...

查看更多
超声波振幅、频率、波长

超声波振幅、频率、波长2021-04-13

使用超声波焊接时,超声波频率的机械振动以特定的振幅、压力和持续时间传送至要焊接的材料中。分子摩擦和界面摩擦产生热能,将材料熔化。摩擦力会在材料中产生抗阻,吸收并反射振动能量,分子簇的内部摩擦=变...

查看更多
祝贺我司顺利通过知识产权贯标复审

祝贺我司顺利通过知识产权贯标复审2021-04-13

  为建立企业知识产权工作的规范体系,认真贯彻落实《国家知识产权战略纲要》,加强对企业知识产权工作的引导,指导和帮助企业进一步强化知识产权创造、运用、管理和保护,增强自主创新能力,实现...

查看更多
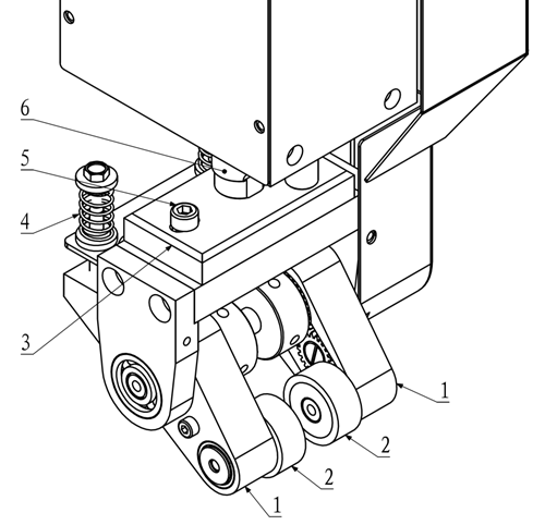
超声波3D花边机花轮的装拆

超声波3D花边机花轮的装拆2021-03-29

  超声波3D花边机花轮的装拆: 1.传动轴2安装在悬臂1上。 2.拆卸花轮时,先把螺丝6松开,再把花轮外压轮5拉出,又把花轮4拉出,花轮内压轮3...

查看更多
超声波3D花边机带动轮的调较

超声波3D花边机带动轮的调较2021-03-29

超声波3D花边机带动轮的调校: 1.带动轮2安装在杠杆座1。 2.调较压缩弹簧4力度,可以调节带动轮2对布料压紧力度。 3.锁板3与升降轴6连接。 ...

查看更多
超声波3D花边机的特点

超声波3D花边机的特点2021-03-29

超声波3D花边机的特点如下: (1)使用滚刀轮加工时: 使用超声波及滚切刀对一层或两层材料进行切割并同时对切口进行焊合。 ①可无限长滚切焊合材料。 ...

查看更多

阿里巴巴二维码

销售热线:


黄生

181-2563-2818

联系我们:


地址:广东省佛山市南海区里水镇河村石荣工业区甘河路22号澳施莉二楼(益百机械) 电话:0757-85611216 邮箱:hshengwei@qq.com 友情链接:泰晶

Copyrigh © 2020 完美(中国) 版权所有 粤ICP备2020090658号 丨 技术支持:佛山网站建设