超声波3D花边机带动轮的调校
发布者:益百机械 发布时间:2021/6/30 17:37:33
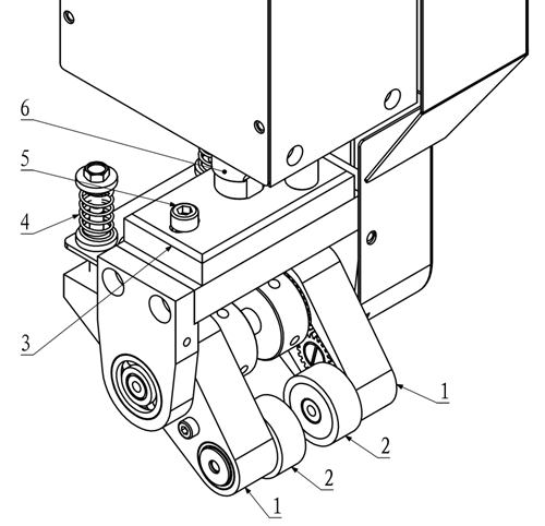
超声波3D花边机带动轮的调校:
1.带动轮2安装在杠杆座1。
2.调较压缩弹簧4力度,可以调节带动轮2对布料压紧力度。
3.锁板3与升降轴6连接。
4.松开螺丝5,带动轮整组可以向左或向右位移。
文章由:超声波花边机 / 完美(中国)
相关新闻
- [2021.07.30]超声波塑料焊接长处
- [2021.05.09]什么是超声波塑料焊接?
- [2021.03.03]超声波蕾丝花边机
- [2021.07.19]超声波塑焊机校模程序
- [2021.07.17]超声波塑料焊接机的原理
- [2021.05.08]大功率超声波切布机BHP-20D结构图
- [2021.01.27]影响超声波焊切机熔接效果的因素
- [2021.07.16]新花轮与焊头接触点的厉害关系
- [2021.07.15]超声波清洗机工作电流
- [2021.05.08]超声波焊接不同塑胶材料匹配性能表
- [2021.03.03]超声波花边机(35K径向)
- [2020.09.12]超声波花边机使用详细说明
- [2021.07.15]超声波清洗机故障、维修与保养
- [2021.01.21]超声波花边机的适用产品及应用材料
- [2021.01.23]超声波花边机的设计图纸
- [2021.07.14]超声波花边机花轮压力调整
- [2021.05.07]超声波打枣机功能及应用
- [2021.07.14]超声波花边机发振箱的安装
- [2021.07.13]超声波打枣机振子焊头组图示
- [2021.05.07]超声波切带机使用说明书






